vivo Xác Nhận Dự Án Camera Vlog, Hướng Tới Cạnh Tranh Với DJI
AI phân tích 3
Các điểm chính được AI trích xuất từ bài viết
-
1
vivo công bố dự án camera Vlog cạnh tranh DJI
Ngày 4 tháng 2, vivo đã xác nhận rằng công ty đã phê duyệt nội bộ dự án camera Vlog chuyên dụng, dự kiến hoàn thiện vào cuối năm 2025. Sản phẩm này được định vị nhằm đối đầu trực...
-
2
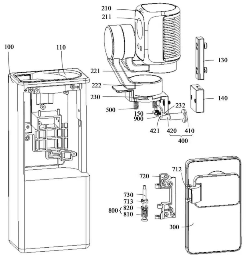
Bằng sáng chế gimbal mới của vivo
Vivo Mobile Communication Co., Ltd., công ty liên kết của vivo, đã công bố một bằng sáng chế mới mang tên "Thiết Bị Gimbal". Thiết bị này thuộc lĩnh vực công nghệ hình ảnh và bao gồm các thành phần...
-
3
Thiết kế gimbal của vivo và ứng dụng
Thiết kế gimbal mới của vivo bao gồm một thân máy với khe lõm đặc biệt, mô-đun ống kính kết nối với thân máy qua bộ gimbal, và cơ chế điều khiển ống kính. Bộ phận kích hoạt trên thân...
vivo Công Bố Dự Án Camera Vlog Riêng, Đối Đầu Cùng DJI
Ngày 4 tháng 2, vivo đã xác nhận rằng công ty đã phê duyệt nội bộ dự án camera Vlog chuyên dụng, dự kiến hoàn thiện vào cuối năm 2025. Sản phẩm này được định vị nhằm đối đầu trực tiếp với dòng camera Pocket của DJI. Hiện thiết bị chưa được đặt tên chính thức và dự kiến sẽ ra mắt vào năm 2026.
Giấy Phép Sáng Chế Về Thiết Bị Gimbal Mới
Gần đây, công ty liên kết của vivo là Vivo Mobile Communication Co., Ltd. đã công bố một bằng sáng chế mang tên "Thiết Bị Gimbal".
Theo phần tóm tắt bằng sáng chế, phát minh thuộc lĩnh vực công nghệ hình ảnh. Thiết bị gimbal này bao gồm các thành phần:
- Thân máy với khe lõm đặc biệt,
- Mô-đun ống kính, bao gồm camera module và bộ gimbal, kết nối với thân máy thông qua bộ gimbal, cho phép mô-đun ống kính di chuyển linh hoạt so với thân máy,
- Cơ chế điều khiển ống kính,
- Bộ phận kích hoạt được gắn di động trên thân máy, có thể chuyển đổi giữa vị trí thứ nhất và vị trí thứ hai.
Thiết kế này cho phép ít nhất một phần của mô-đun ống kính có thể thu vào khe lõm trên thân máy. Khi bộ phận kích hoạt nằm ở vị trí thứ nhất, nó cơ học hạn chế mô-đun ống kính, giữ cho phần ống kính nằm gọn trong khe. Khi chuyển sang vị trí thứ hai, bộ phận kích hoạt sẽ tách khỏi mô-đun ống kính, cho phép cơ chế điều khiển ống kính đẩy ống kính ra ngoài khỏi khe lõm.
Hình Ảnh Mô Tả Thiết Kế Gimbal

Nguồn: Jiemian News
Bài viết hay? Ấn để tương tác
Bình luận (0)
Hãy là người đầu tiên bình luận trong bài
Đăng nhập Đăng nhập để bình luận trong bài viết này